申报个税发现身份信息被盗用 名下多出一家公司

李大大
2019-01-14 09:28
点击数:

2014年4月分身份证丢失,当时就回老家办理了身份证,今日公司要自行申报个税扣除项目,发现有上海一个家公司在名下,2014年9月份把我变更为法人,进一步查询还是办税员,非正常状态。联系上海那边工商需要鉴定笔记一切操作,而且只管工商这边。要是我今年不报个税是不是公司法人这一直在我头上挂着,做出犯罪的事也有我来承担?现在压力很大 ,希望有关部门能给与处理。公安局既不不受理,也说这事不归自己管。

[此内容为网友反映问题,不得转载。]
[如需回复网友留言,请将调查结果加盖公章后传真至029—85257538,并将电子版回函发至2425048306@qq.com。联系电话:029-85258414。]
·
·
·
已受理 2019-01-14 09:28
已转交 2019-01-16 11:28
已反馈 2019-01-16 11:29
已反馈 2019-01-16 11:29
您的留言相关部门已办结反馈,感谢对西部网《民生热线》的支持!
已反馈
个税APP填报竟被“法人” 律师:注意保护个人隐私
记者调查
2019-01-16 11:29

新个人所得税法于2019年1月1日全面实施,最近大家应该都在忙着填写专项附加扣除的相关信息,但也有一些网友反映,在登录个人所得税APP时,发现了一些信息盗用问题。

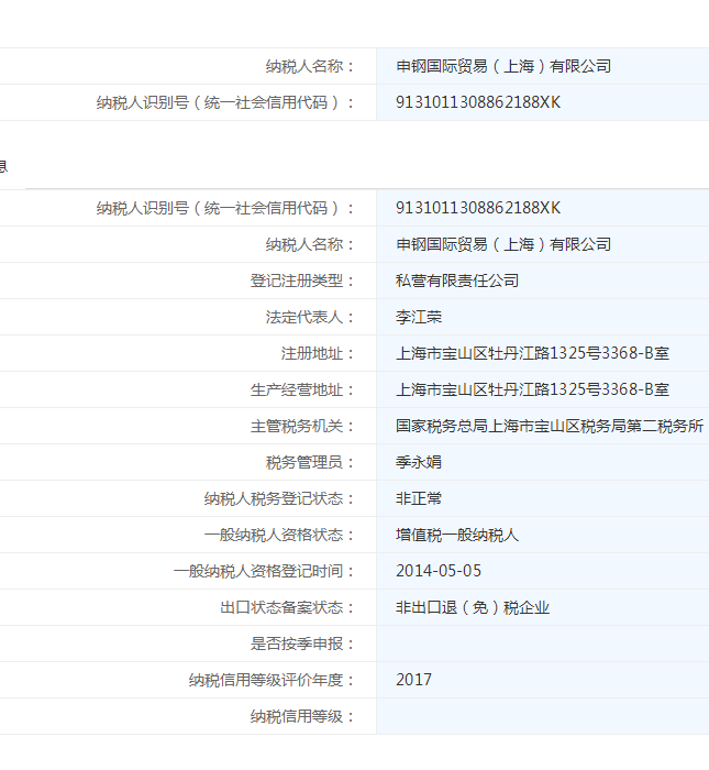
近日,西部网民生热线接到网友李先生反映称,他刚注册个税APP,竟然发现名下有一家听都没听过的公司,自己还是法人代表。“要是我今年不报个税,是不是公司法人一直在我头上挂着?做出违法的事也由我承担?”

民生热线:申报个税发现身份信息被盗用 名下多出一家公司

名下挂着从没听过的公司咋回事?

李先生告诉记者,1月9日,因公司要求自行申报个税扣除项目,他注册了个税APP,发现竟有一家自己从来没有听说过的上海公司挂在名下,2016年9月份还变更他为法人,当时他就拨打了12366纳税服务热线,工作人员说他们已经记录了,会向上级反馈。“我在2014年4月丢失过身份证,当时也马上补办了,但可能存在被别人盗用的情况。”

第二天,李先生就发现个税APP上该上海公司的相关信息已经消失了。但随后,李先生又接到了上海税务部门和工商部门的回复电话称,“工商部门需要提交个人声明、身份证复印件、还得本人过去做笔记鉴定;税务部门说得需要公安审理书,但公安局说这不归他们管,不予受理。”

这种情况并不是个例。经记者查询发现,最近有不少人吐槽自己“被入职”、“被法人”。网友“最石头”称,头疼死了,被法人,然后还在两个地方,办法流程不一样,要求出具证明也不一样,脑袋已经不受控了。

网友“才周三啊”表示,我也被法人了,想要撤销,估计十分麻烦,但不弄的话又影响以后的个人征信。网友“突然想起我是王永嘉”也说道,自己也被入职好几年,个税APP让逃税现形。

律师观点:注重个人隐私保护 相关职能部门严格审查

据陕西洪振律师事务所的马晨律师介绍,在注册公司时,工商局资料审查为形式审查,并不负责进行实质审查,也不会对签名真伪作出认定。也就是说,只要有身份证复印件或者身份证原件以及签名就可以注册,工商局不会审查这个签字是不是本人签的。“如果是李先生这种情况,他可以向工商局提出异议,鉴定签名是否是他本人所签,然后可以向法院起诉工商局,要求撤销公司注册。”

马晨表示,在个人身份证信息丢失之后,要及时办理挂失手续,抓紧时间补办。如果身份证没有丢失的情况下发生个人信息泄露,可能是身份证复印件被用来注册公司。所以在个人信息保护方面,首先一定要注重个人信息保密,其次就是在对外复印身份证时,应当在身份证复印件上标明用途,以防它用。

如果要工商局变更工商注册,只能通过法院判决的形式进行,然后才能注销相关信息,目前工商局也在出台相应规定来完善。“例如在公司注册等重大事项上,可以要求注册人进行面签,而不是只进行形式审查。”

这种“被入职”、“被法人”情况应该怎么合理规避?马晨建议,从个人角度,要注重个人隐私的保护。而作为政府职能部门,不管是税务部门还是社保部门都要严格审查,做好相关的工作。

发表您的看法
网上昵称:
发言主题:
发言内容:
提交
跟帖留言

现在还没有评论!

更 多 0/0
我要留言
  • 密码登录
  • 验证码登录
  • 单位用户登录

登录

登录

注册账号

  • 新用户注册

注册

已有账号

根据《互联网跟帖评论服务管理规定》互联网留言须实名认证,本平台将严格保护用户隐私。
  • 找回密码

确认修改密码

返回登录